Технология армирования газобетона
При строительстве жилых домов и производственных зданий из такого высокотехнологического продукта, как газобетон, требуется проводить обязательное армирование стен. Такая необходимость объясняется возможным возникновением трещин, появление которых зависит от различного напряжения, а также перепадов температуры воздуха, влаги и различных атмосферных осадков. От таких естественных, независимых ни от кого природных процессов, в стенах домов из газобетона происходит постоянное набухание и расширение блоков с последующей их усадкой, а все это в итоге вызывает деформацию самой кладки.

Схема армирования кладки из газобетона: 1 – кладка стены, 2 – плиты перекрытия, 3 – обвязочный пояс, 4 – Мауэрлат, 5 – элементы стропильной кровли.
Особенно такому воздействию подвергаются такие места, как углы комнат, оконные и дверные проемы. К тому же газоблоки как строительный материал известны своей низкой прочностью на растяжение, и такие деформационные нагрузки вызывают появление трещин на стенах, которые со временем только увеличиваются. Поэтому при возведении домов специалистами используется армирование конкретных рядов стен, которое эффективно помогает избежать деформации дома и даже его возможного разрушения в будущем.
Выполнение армированной кладки

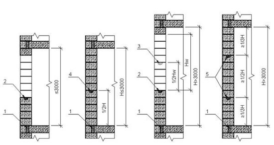
Схема армирования газобетонной кладки по высоте стен: 1 — обвязочный пояс, 2 — армирование кладки подоконной зоны, 3 — армирование кладки в пределах высоты простенка, 4 — армирование кладки при расстоянии не более 3 м, 5 — при расстоянии более 3 м.
Все работы по армированию кладки должны быть предусмотрены в расчетно-проектной документации каждого дома, если он возводится из газобетонных блоков. Но если это условие не соблюдено, то расположение арматурного пояса в кладке можно определить своими силами. Для этого надо знать, как правильно выполнить такой расчет.
Где следует устанавливать арматуру:
- первый ряд кладки;
- каждый четвертый ряд кладки;
- места перемычек;
- под оконными и дверными проемами;
- в глухих стенах;
- устанавливают армированный пояс по всем уровням перекрытий.
Обычно для армирования газобетона используется арматура из класса А III – 0,75 см², при этом два стержня укладывают параллельно друг другу. Но если такая укладка двух стержней невозможна, то допускается применение арматурного стержня, размер которого будет D – 10AIII. При укладке стержней в дверные или оконные проемы рекомендуемое расстояние от края составляет 60 см.
Технология укладки арматуры в газобетонные блоки
Укладка арматурой блоков из газобетона при строительстве зданий или домов проводится только с использованием специально подготовленных для этого штроб или, как их еще называют, “бороздок”. Выполняют штробы согласно размеру используемой арматуры с небольшим запасом. А чтобы не повредить при выполнении штроб газобетон, отступают от края каждого блока примерно 6 см. Фиксируют арматурные стержни специально предназначенным для этого клеем. А для качественной герметизации материала используют раствор из песка и цемента.

Схема армирования стен из газобетона.
- Вначале на фундамент укладывают теплоизоляционный слой.
- Начальную линию кладки размещают как можно ровнее, потому что от этого зависит все строительство дома.
- Для контроля высоты углов постройки устанавливают деревянные рейки. А для правильного определения равномерности кладки специалисты рекомендуют натягивать шнур прямо по высоте газобетонного блока.
- С помощью штробореза прорезают “бороздки”. Если по расчетно-проектной документации толщина стен будет более 40 см, то тогда делают две “бороздки” параллельно друг другу.
- Штробы зачищают от мусора и пыли жесткой щеткой и наполовину заполняют фиксирующим клеем.
- В штробы с клеем укладывают арматурные стержни.
- Сверху герметизируют раствором из цемента и песка.
- Всю поверхность разравнивают с помощью шпателя.
- Проверяют ровность кладки с помощью строительного уровня. При необходимости для корректировки кладки используют резиновую киянку. Если конечный блок получается большой, то ненужную часть отпиливают ручной пилой, а ровность углов проверяют угольником.
По завершении всех работ, связанных с созданием армирующего пояса, строение с внешней стороны облицовывают кирпичом или другим предусмотренным в проектной документации материалом. Если дом планируют облицовывать кирпичом, то между блоком газобетона и облицовочным материалом оставляют зазор. Крепление сайдинговых листов, вагонки или оштукатуривание поверхности происходит на основе использования деревянной обрешетки.
Инструменты и материалы:
- цемент;
- песок;
- вода;
- фиксирующий клей;
- теплоизоляционный материал;
- антикоррозийное средство;
- штроборез;
- шпатель;
- жесткая щетка для удаления мусора и пыли;
- рейки;
- строительный уровень;
- веревка;
- угольник;
- пила;
- киянка.
Следует знать, что блоки газобетона, предназначенные для армирования, привозят на место строительства закрытыми пленкой и уложенными на деревянные поддоны.
Освобождать от упаковки все блоки одновременно специалисты не рекомендуют, потому что влажность может быстро испортить весь строительный материал . Целесообразнее распаковывать строительный материал по мере армирования газобетона. То есть именно то количество материала, которое запланировано отработать в течение рабочего дня.